京医保发〔2025〕2号
各区医疗保障局、北京经济技术开发区社会事业局,各定点医疗机构:
为进一步支持中药配方颗粒临床规范管理,促进中药配方颗粒合理用药,提高医保基金使用效率,更好保障人民健康,现对具有中药配方颗粒国家药品标准的200个中药配方颗粒品种制定医保支付标准,有关事项通知如下:
一、医保支付政策
参保患者使用价格不高于支付标准的药品,患者和医保基金以实际销售价格为基础,按政策规定分担费用;患者使用价格高于支付标准的药品,超出支付标准的部分由患者自行承担(一至六级革命伤残军人除外),医保支付标准以内部分由患者和医保基金按政策规定分担。
二、工作要求
各级医保部门要及时进行信息系统优化调整,加强数据治理,将中药配方颗粒数据质量作为日常监管的重要内容,开展核查复查;依托医保信息系统加强对定点医疗机构中药配方颗粒采购价格的监测处置,对患者费用显著增加的定点医疗机构采取监管处置措施,切实发挥医保基金激励约束功能。
各定点医疗机构落实中药配方颗粒临床使用主体责任,共同做好政策解释引导工作,加强中药配方颗粒数据治理,确保上传医保信息系统数据与实际发生数据相符。医疗机构在用中药配方颗粒应全部实行网上采购,优先选用质优价廉的药品;采购价格较高药品时,需在本市医药阳光采购平台上传相关说明材料及医疗机构审核材料;医疗机构网下采购的中药配方颗粒费用,医保基金原则上不予支付。
本通知自2025年2月28日起执行。
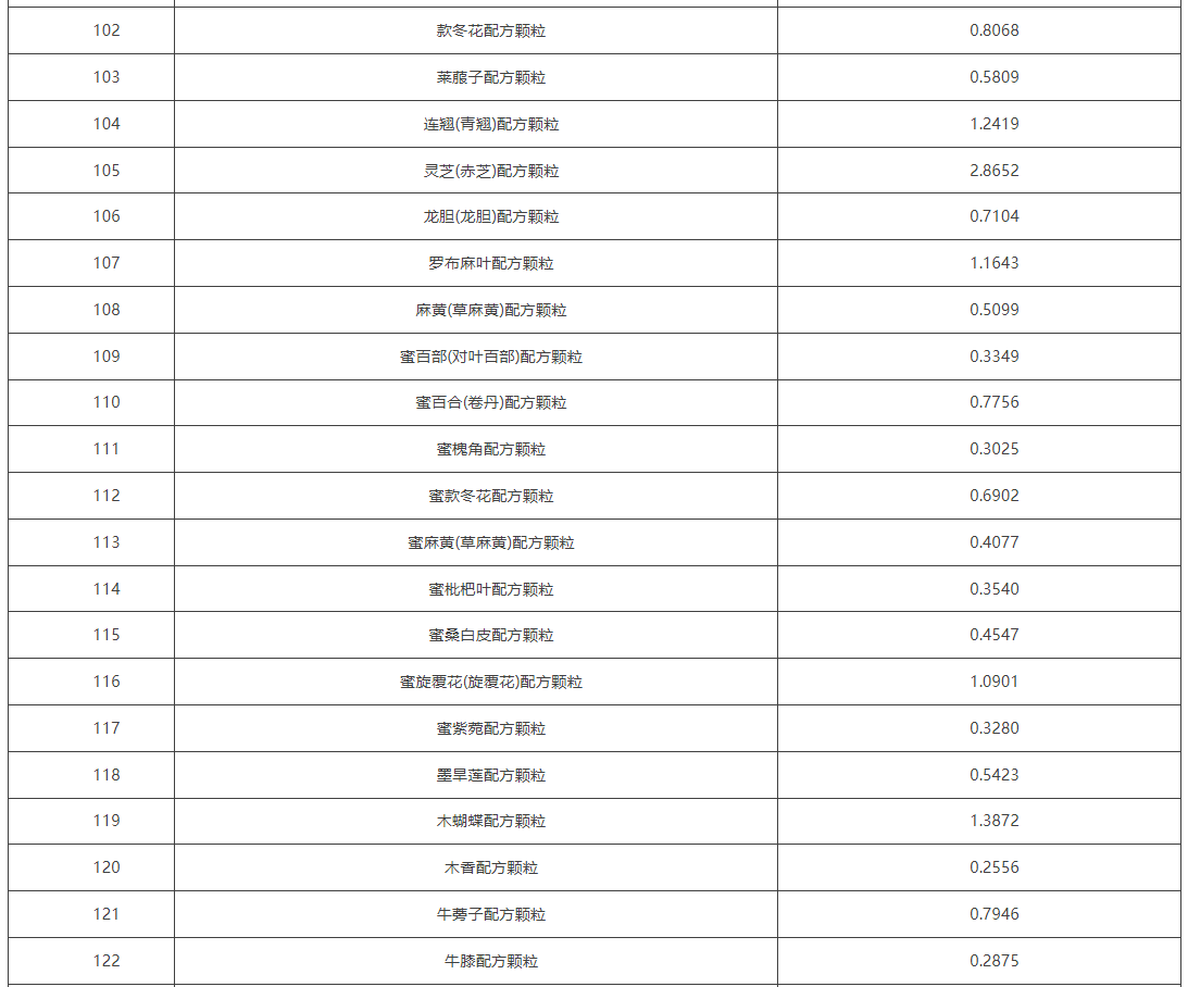
附件:中药配方颗粒医保支付标准
北京市医疗保障局
2025年1月26日









京公网安备 11010802036726号